发布时间:2025-11-05 04:35:28 来源:技术快报 作者:IT科技
CVE-2024-6387是别让一个影响OpenSSH的远程代码执行(RCE)漏洞。该漏洞存在于OpenSSH服务器(sshd)的黑客护措信号处理程序中,由于在处理SIGALRM信号时的有机竞争条件,攻击者可以利用该漏洞执行任意代码。可乘该漏洞主要影响基于glibc的立即Linux系统。
受影响版本8.5p1 <= OpenSSH < 9.8p1

详细的对O的影漏洞情况请查阅该篇文章[1]
当客户端在LoginGraceTime(默认120秒,旧版本600秒)内未能完成身份验证时,响防sshd会异步调用SIGALRM处理程序。别让由于信号处理的黑客护措竞争条件,攻击者可以通过特定的有机时间窗口注入恶意代码,实现远程代码执行。可乘
表1显示了与 CVE-2024-6387 关联的立即易受攻击版本。

表1
使用Palo Alto Networks Xpanse数据,对O的影我们观察到 2300 万个OpenSSH服务器实例,响防包括所有版本。别让截至 2024年7月 1 日,全球有超过 700 万个暴露的OpenSSH 版本8.5p1-9.7p1 实例。包括旧版本(4.3p1 及更早版本),我们总共看到730万。但是,这可能是源码库对易受攻击版本的过度计算,因为没有可靠的方法来解释向后移植,其中实例正在运行修补版本但显示受影响的版本号。这些数字也不考虑漏洞可能需要的操作系统级规范或配置。
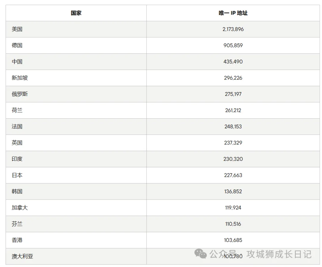
表2显示了我们对易受攻击版本8.5p1-9.7p1的观察结果的地理分布。


该漏洞在github上,大神也发布了poc,如下图:

使用方法也是很简单,不过,该漏洞攻击时间很长,在linux虚拟机环境“平均需要尝试约10,000次才能成功复现,约需3小时左右。
把上述的poc克隆到kali主机上,如下图:

该poc采用C语言编程,所以,我们需要编译。如下图:

如何利用该poc,执行如下命令:
复制./cve-2024-6387 <ip> <port> 例如: ./cve-2024-6387 192.168.31.19 221.2.3.执行完命令后,如下图的输出:

要有效解决此漏洞,请升级到最新的 OpenSSH 版本,其中包括必要的修复程序。保持 OpenSSH 安装最新对于安全和防范已知漏洞至关重要。站群服务器官方已发布最新版本修复该漏洞,请受影响客户将Openssh更新到安全版本:OpenSSH > 9.8p1。
下载链接:https://www.openssh.com/releasenotes.htmlDebian解决方案:https://security-tracker.debian.org/tracker/CVE-2024-6387Ubuntu解决方案:https://ubuntu.com/security/notices/USN-6859-1Redhat解决方案:https://access.redhat.com/security/cve/cve-2024-63872.实施临时解决方法如果无法立即升级,您可以通过在 OpenSSH 配置文件中将 LoginGraceTime 参数设置为 0 来降低风险。这样可以防止未经身份验证的会话保持打开状态并被利用。但是,如果所有连接插槽都被占用,此设置可能会导致拒绝服务。
3.通过使用seccomp(安全计算模式)添加额外的安全层,可以进一步减轻风险。seccomp限制了sshd进程可以执行的系统调用,从而限制了攻击面并减少了利用不安全函数(如syslog())的可能性。实现seccomp确保即使触发了漏洞,攻击者执行任意代码的能力也会显著受限。通过遵循这些缓解策略,您可以保护系统免受此漏洞的影响,并增强OpenSSH配置的整体安全性。
CVE-2024-6387(又名 RegreSSHion)是基于 glibc 的 Linux 系统上 OpenSSH 服务器 (sshd) 中的信号处理程序争用条件漏洞。此漏洞的严重等级为“高”(CVSS 8.1),并可能导致具有 root 权限的未经身份验证的免费信息发布网远程代码执行 (RCE)。
Reference:
[1]CVE-2024-6387: https://nvd.nist.gov/vuln/detail/CVE-2024-6387